News Universal Studios Japan and The Pokémon Company announce creative alliance.

VolcanicDynamo

1-Up Boy
Pronouns
He/Him
I'm truly glad that we have a Universal that's not as reliant on screens for their big rides anymore. If you didn't like Potter, then it was a rough time for new rides forna while, but they've been stepping up their game big time lately.

I can think of an alternate universe where the Mario Kart ride was just like Fast and Furious, and I weep.
 

Pandora

Goddess of Calamity
Pronouns
She/Her
There’s also their absolutely incredible juarassic world animatronic in universal studios beijing ,lots of reason to be optimistic in what Universal can do even if you don’t like coasters or screens. I assume the DK coaster they are building is gonna be pretty practical too . I feel the curse of screens is gonna remain isolated in USF .
Really excited for Epic Universe honestly between what they’ve done with recent projects and the fact it sounds way more like it will be a “family park” seemingly.
 

VolcanicDynamo

1-Up Boy
Pronouns
He/Him
The planned line up for Epic Universe is indeed a really healthy and diverse set of attractions, I absolutely agree! Even beyond Super Nintendo World there's a lot of interesting stuff coming, from the choice of IP to the actual rides themselves. Even though it feels so far off, it's a good time to be a park fan.
 

Pandora

Goddess of Calamity
Pronouns
She/Her
Really can’t wait , if only cause I feel a lot of stuff is on hold and waiting for this park to be built . It’s gonna add some incredible balance and variety to Universal too though . right now IoA is basically a “thrill park “ and USF is leaning heavily on events , a more all ages park with a good few dark rides is sorely needed and i think Nintendo is obviously perfect for that , so it’s been a shame it’s taken so long .

But also as much as I love Universal for being different than disney , I am interested in what happens if they make a more “disney like” park . Like I went to halloween horror nights this year (sadly only one day ) and I loved it , but I still think about how interesting if they could do a “Not so Scary halloween” type event at Epic Universe with snw, pokemon etc . or a bigger christmas event than they do now.
 

GoGoDezmo

Animal Buddy
Pronouns
He/Him
There’s also their absolutely incredible juarassic world animatronic in universal studios beijing ,lots of reason to be optimistic in what Universal can do even if you don’t like coasters or screens. I assume the DK coaster they are building is gonna be pretty practical too . I feel the curse of screens is gonna remain isolated in USF .
Really excited for Epic Universe honestly between what they’ve done with recent projects and the fact it sounds way more like it will be a “family park” seemingly.
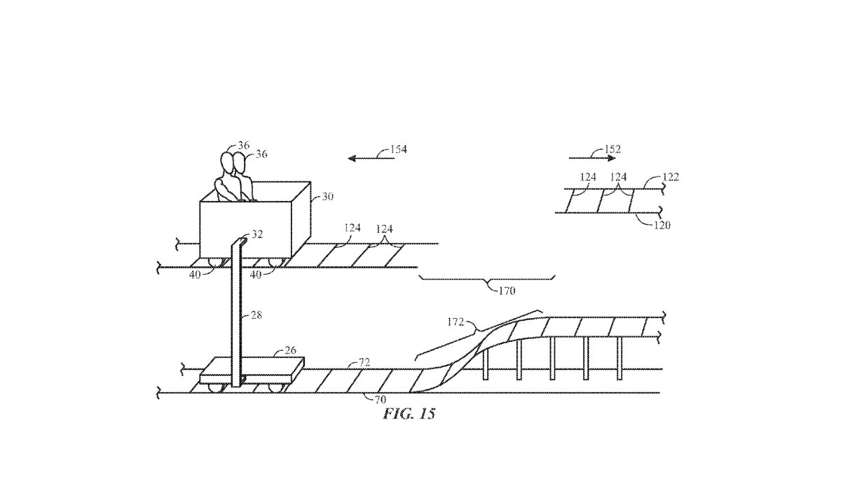
You'd assume right about the DK coaster! In fact, a patent has been discovered that shows off the kind of tech they're using to replicate the mine cart levels from the games! Take a look!


universal_patent_donkey_kong_attraction1.jpg


universal-boom-coaster-patent.png
 

winstein

Rattata
It's amusing to see Illumination's characters alongside Mario and Pikachu, as well as some extras that surprisingly include Snoopy (would be even better if Garfield were there...). Also, Hello Kitty looks strange with long hands.

Thank you for reading.
 

Pandora

Goddess of Calamity
Pronouns
She/Her
It's amusing to see Illumination's characters alongside Mario and Pikachu, as well as some extras that surprisingly include Snoopy (would be even better if Garfield were there...). Also, Hello Kitty looks strange with long hands.

Thank you for reading.
I’ve never paid attention to what rights USJ has to stuff compared to over here , and it’s always funny when I see that they have sesame street , since Sea World has the rights to that over here . Also the somewhat bigger presence of Hello Kitty versus just having a store over here .
 

Monk

Rattata
Pronouns
He/Him
I'm expecting an abundance of water Pokemon to keep in line with Universal's tradition of squirting their riders with water at every opportunity.
 
Top Bottom